2020年8月8日接收捐赠的信息
发布时间 2020-08-10 丨 来源:四川省索玛慈善基金会 丨 浏览量 237
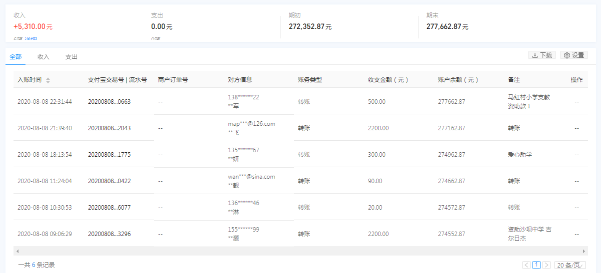
| 8月8日收到 | 罗小军 | 索玛花支教 | ¥500.00 | 马红村小学支教资助款! |
| 8月8日收到 | 马鹏飞 | 爱心助学 | ¥2,200.00 | 资助阿约石洗 |
| 8月8日收到 | **妍 | 爱心助学 | ¥300.00 | 爱心助学(支付宝暂未开票) |
| 8月8日收到 | 王靓靓 | 爱心捐款 | ¥90.00 | 转账 |
| 8月8日收到 | **淋 | 爱心捐款 | ¥20.00 | 支付宝暂未开票 |
| 8月8日收到 | 刘世灏 | 爱心助学 | ¥2,200.00 | 资助沙坝中学 吉尔日杰 |
| 【通知】为规范四川省索玛慈善基金会财务,从即日起,我们将给每一位捐赠人(包括以前给我们捐赠的朋友们)据实开具捐赠票据,微信号:suomahua123,手机:18981556717,座机:0834-2507977,发送捐款截图、捐赠人(单位)姓名、收件地址、电话、邮编信息,以便我们给您邮寄捐赠票据,感谢各位爱心人士的捐助! | ||||
| 四川省索玛慈善基金会 2020年8月8日 | ||||





