2020年8月2日接收捐赠的信息
发布时间 2020-08-03 丨 来源:四川省索玛慈善基金会 丨 浏览量 288
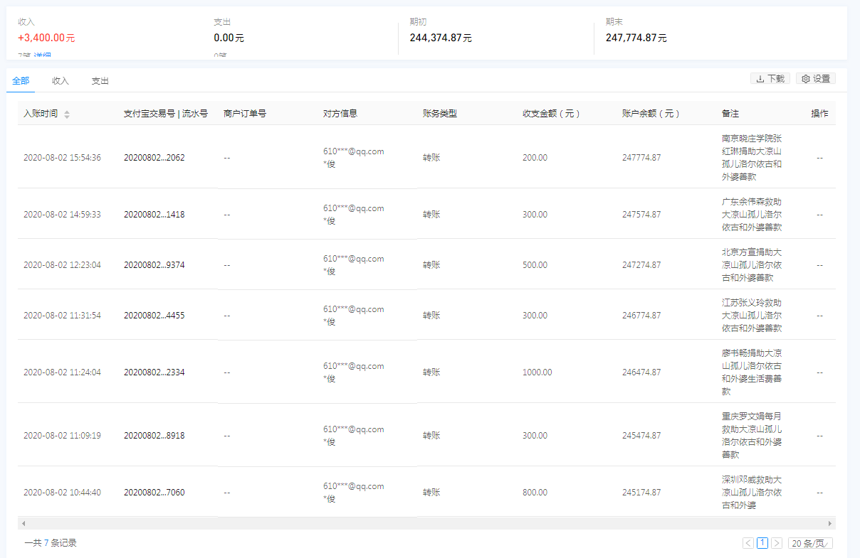
| 8月2日收到 | 南京晓庄学院张红琳 | 扶贫救助 | ¥200.00 | 救助大凉山孤儿洛尔依古和外婆善款 |
| 8月2日收到 | 广东余伟森 | 扶贫救助 | ¥300.00 | 救助大凉山孤儿洛尔依古和外婆善款 |
| 8月2日收到 | 北京方宣 | 扶贫救助 | ¥500.00 | 救助大凉山孤儿洛尔依古和外婆善款 |
| 8月2日收到 | 江苏张义玲 | 扶贫救助 | ¥300.00 | 救助大凉山孤儿洛尔依古和外婆善款 |
| 8月2日收到 | 廖书畅 | 扶贫救助 | ¥1,000.00 | 救助大凉山孤儿洛尔依古和外婆生活费善款 |
| 8月2日收到 | 重庆罗文娟每月 | 扶贫救助 | ¥300.00 | 救助大凉山孤儿洛尔依古和外婆善款 |
| 8月2日收到 | 深圳邓威 | 扶贫救助 | ¥800.00 | 救助大凉山孤儿洛尔依古和外婆 |
| 【通知】为规范四川省索玛慈善基金会财务,从即日起,我们将给每一位捐赠人(包括以前给我们捐赠的朋友们)据实开具捐赠票据,微信号:suomahua123,手机:18981556717,座机:0834-2507977,发送捐款截图、捐赠人(单位)姓名、收件地址、电话、邮编信息,以便我们给您邮寄捐赠票据,感谢各位爱心人士的捐助! | ||||
| 四川省索玛慈善基金会 2020年8月2日 | ||||








