2020年7月13日接收捐赠的信息
发布时间 2020-07-14 丨 来源:四川省索玛慈善基金会 丨 浏览量 189
| 7月13日收到 | 宋英 | 爱心助学 | ¥1,100.00 | 资助帕立尔作 |
| 7月13日收到 | 梁彪 | 扶贫救助 | ¥1,000.00 | 扶贫救助资助吉主尔作 |
| 7月13日收到 | 昆山银宁五金机械有限公司 | 爱心助学 | ¥2,200.00 | 资助切吉小妹 |
| 7月13日收到 | 四川日月天成建材有限公司 | 阳光午餐 | ¥20,000.00 | 支持索玛花阳光午餐以及学习用品 |
| 7月13日收到 | 刘南冰 | 行政费用 | ¥5,300.00 | 索玛花7月捐行政费-深圳UB |
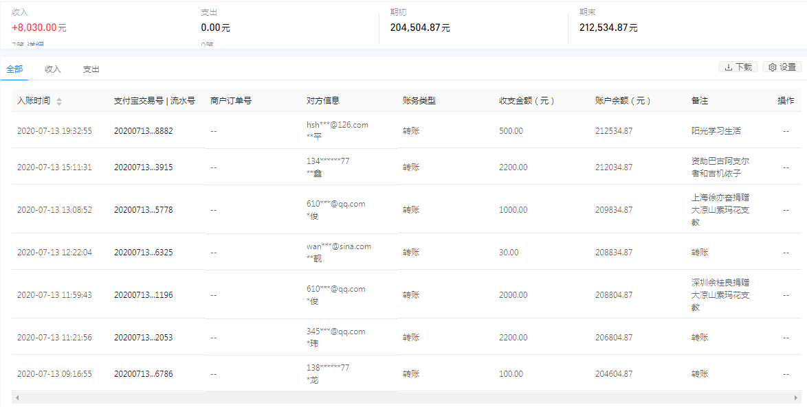
| 7月13日收到 | 沈红平 | 爱心捐款 | ¥500.00 | 阳光学习生活 |
| 7月13日收到 | 李宇聪 | 爱心助学 | ¥2,200.00 | 资助巴古阿支尔者和吉机依子 |
| 7月13日收到 | 上海徐亦奋 | 索玛花支教 | ¥1,000.00 | 捐赠大凉山索玛花支教 |
| 7月13日收到 | 王靓靓 | 爱心捐款 | ¥30.00 | 转账 |
| 7月13日收到 | 深圳余桂良 | 索玛花支教 | ¥2,000.00 | 捐赠大凉山索玛花支教 |
| 7月13日收到 | 张玮 | 爱心助学 | ¥2,200.00 | 资助阿芝尔里 |
| 7月13日收到 | 田野 | 爱心建校 | ¥100.00 | 修建板房学校 |
| 【通知】为规范四川省索玛慈善基金会财务,从即日起,我们将给每一位捐赠人(包括以前给我们捐赠的朋友们)据实开具捐赠票据,微信号:suomahua123,手机:18981556717,座机:0834-2507977,发送捐款截图、捐赠人(单位)姓名、收件地址、电话、邮编信息,以便我们给您邮寄捐赠票据,感谢各位爱心人士的救助! | ||||
| 四川省索玛慈善基金会 2020年7月13日 | ||||














