2020年7月2日接收捐赠的信息
发布时间 2020-07-03 丨 来源:四川省索玛慈善基金会 丨 浏览量 187
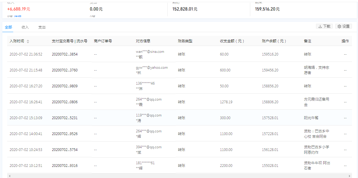
| 7月2日收到 | 刘玉阁 | 爱心助学 | ¥2,200.00 | 阿比军长资助金 |
| 7月2日收到 | 王靓靓 | 爱心捐款 | ¥60.00 | 转账 |
| 7月2日收到 | 胡海娟 | 索玛花支教 | ¥600.00 | 支持志愿者 |
| 7月2日收到 | **淋 | 爱心捐款 | ¥50.00 | 转账(支付宝暂未开票) |
| 7月2日收到 | *涛 | 阳光午餐 | ¥300.00 | 阳光午餐119***@qq.com(支付宝暂未开票) |
| 7月2日收到 | 刘辉 | 爱心助学 | ¥1,100.00 | 资助:巴古乡中心校 吉合阿合 |
| 7月2日收到 | 金斌 | 爱心助学 | ¥1,100.00 | 资助巴古乡小学 阿恩约作 |
| 7月2日收到 | 李晶辉 | 爱心助学 | ¥2,200.00 | 资助牛牛坝 阿出石者 |
| 【通知】为规范四川省索玛慈善基金会财务,从即日起,我们将给每一位捐赠人(包括以前给我们捐赠的朋友们)据实开具捐赠票据,微信号:suomahua123,手机:18981556717,座机:0834-2507977,发送捐款截图、捐赠人(单位)姓名、收件地址、电话、邮编信息,以便我们给您邮寄捐赠票据,感谢各位爱心人士的捐助! | ||||
| 四川省索玛慈善基金会 2020年7月2日 | ||||








