2020年6月30日接收捐赠的信息
发布时间 2020-07-03 丨 来源:四川省索玛慈善基金会 丨 浏览量 219
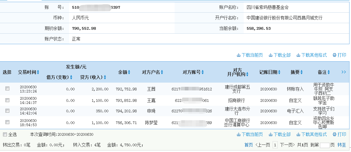
| 6月30日收到 | 王茜 | 爱心助学 | ¥2,200.00 | 用于资助牛牛坝 阿支子西初二 |
| 6月30日收到 | 王嘉 | 爱心助学 | ¥1,100.00 | 额其伍子助学金 |
| 6月30日收到 | 申琦 | 爱心捐款 | ¥350.00 | 支持孩子们学习 |
| 6月30日收到 | 陈梦莹 | 爱心助学 | ¥1,100.00 | 资助四合乡中心校贾斯伍呷 |
| 6月30日收到 | 王淑颖 | 爱心捐款 | ¥1,240.00 | 2020年6月奇迹团队捐款 |
| 6月30日收到 | 朱丹丹 | 爱心助学 | ¥1,100.00 | 资助巴古小学 阿苏拉布—朱丹丹 |
| 【通知】为规范四川省索玛慈善基金会财务,从即日起,我们将给每一位捐赠人(包括以前给我们捐赠的朋友们)据实开具捐赠票据,微信号:suomahua123,手机:18981556717,座机:0834-2507977,发送捐款截图、捐赠人(单位)姓名、收件地址、电话、邮编信息,以便我们给您邮寄捐赠票据,感谢各位爱心人士的救助! | ||||
| 四川省索玛慈善基金会 2020年6月30日 | ||||








