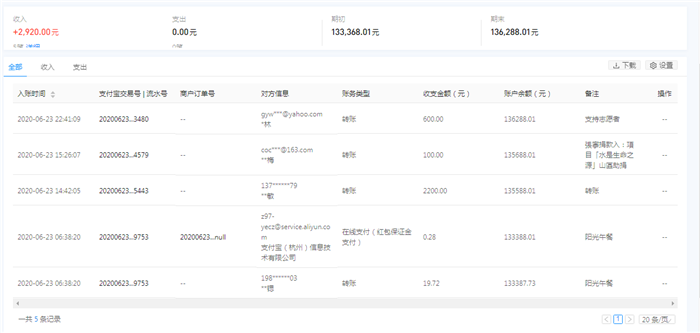
2020年6月23日接收捐赠的信息
发布时间 2020-06-24 丨 来源:四川省索玛慈善基金会 丨 浏览量 184
2020年6月23日接收捐赠的信息
更新时间:2020/6/24 15:30:32
| 6月23日收到 | 邢鸿飞 | 爱心助学 | ¥2,200.00 | 资助四合中心校米色么惹作 |
| 6月23日收到 | 周林 | 索玛花支教 | ¥600.00 | 支持志愿者 |
| 6月23日收到 | 張寧 | 净水助学 | ¥100.00 | 捐款入:項目「水是生命之源」山區助捐 |
| 6月23日收到 | 罗景龙 | 爱心助学 | ¥2,200.00 | 资助阿都尔党阿都英党 |
| 6月23日收到 | **锶 | 阳光午餐 | ¥20.00 | 阳光午餐(支付宝暂未开票) |
| 【通知】为规范四川省索玛慈善基金会财务,从即日起,我们将给每一位捐赠人(包括以前给我们捐赠的朋友们)据实开具捐赠票据,微信号:suomahua123,手机:18981556717,座机:0834-2507977,发送捐款截图、捐赠人(单位)姓名、收件地址、电话、邮编信息,以便我们给您邮寄捐赠票据,感谢各位爱心人士的救助! | ||||
| 四川省索玛慈善基金会 2020年6月23日 | ||||






