2020年6月4日接收捐赠的信息
发布时间 2020-06-05 丨 来源:四川省索玛慈善基金会 丨 浏览量 189
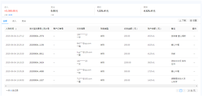
2020年6月4日接收捐赠的信息
更新时间:2020/6/5 0:00:00
| 6月4日收到 | 孙吉香 | 爱心捐款 | ¥200.00 | 爱心捐款 |
| 6月4日收到 | **梅 | 阳光午餐 | ¥200.00 | 爱心午餐(支付宝暂未开票) |
| 6月4日收到 | 胡业杲 | 索玛花支教 | ¥200.00 | 支教 |
| 6月4日收到 | 林建文 | 爱心助学 | ¥2,200.00 | 资助牛牛坝 吉布伍作 |
| 6月4日收到 | **妹 | 阳光午餐 | ¥300.00 | 爱心午餐(支付宝暂未开票) |
| 6月4日收到 | 廖静雯 | 爱心助学 | ¥200.00 | 支助大凉山助学 |
| 【通知】为规范四川省索玛慈善基金会财务,从即日起,我们将给每一位捐赠人(包括以前给我们捐赠的朋友们)据实开具捐赠票据,微信号:suomahua123,手机:18981556717,座机:0834-2507977,发送捐款截图、捐赠人(单位)姓名、收件地址、电话、邮编信息,以便我们给您邮寄捐赠票据,感谢各位爱心人士的捐助! | ||||
| 四川省索玛慈善基金会 2020年6月4日 | ||||






