2020年6月1日接收捐赠的信息
发布时间 2020-06-02 丨 来源:四川省索玛慈善基金会 丨 浏览量 197
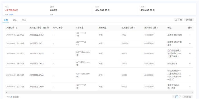
2020年6月1日接收捐赠的信息
更新时间:2020/6/2 16:28:32
| 6月1日收到 | 石峰 | 爱心捐款 | 100 | |
| 6月1日收到 | 高建 | 索玛花支教 | ¥2,000.00 | 儿童节快乐,索玛花支教 |
| 6月1日收到 | 王海祯 | 爱心捐款 | ¥50.00 | 爱心捐款 |
| 6月1日收到 | 白国栋 | 阳光午餐 | ¥2,000.00 | 阳光午餐项目 |
| 6月1日收到 | 江门余艳芳 | 索玛花支教 | ¥500.00 | 祝大凉山孩子们六一儿童节快乐! |
| 6月1日收到 | 白聆熹 | 爱心助学 | ¥100.00 | 助学 |
| 6月1日收到 | 中山吴浠铭 | 扶贫救助 | ¥500.00 | 六一儿童节捐助大凉山孤儿吉克尔布一家5口 |
| 6月1日收到 | 汪健 | 索玛花支教 | ¥600.00 | 请用于支教老师。 |
| 【通知】为规范四川省索玛慈善基金会财务,从即日起,我们将给每一位捐赠人(包括以前给我们捐赠的朋友们)据实开具捐赠票据,微信号:suomahua123,手机:18981556717,座机:0834-2507977,发送捐款截图、捐赠人(单位)姓名、收件地址、电话、邮编信息,以便我们给您邮寄捐赠票据,感谢各位爱心人士的救助! | ||||
| 四川省索玛慈善基金会 2020年6月1日 | ||||










