2020年5月20日接收捐赠的信息
发布时间 2020-05-21 丨 来源:四川省索玛慈善基金会 丨 浏览量 252
| 5月20日收到 | 莫陈峰 | 爱心捐款 | ¥100.00 | 电子汇入 |
| 5月20日收到 | 张小波 | 爱心助学 | ¥2,200.00 | 资助阿古石布阿古石且 |
| 5月20日收到 | 贺雪姣 | 爱心捐款 | ¥50.00 | 爱心捐款 |
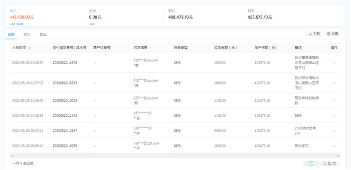
| 5月20日收到 | 长沙黄佩佩 | 爱心捐款 | ¥1,000.00 | 捐助大凉山贫困山区孩子们 |
| 5月20日收到 | 长沙郑令 | 爱心捐款 | ¥1,000.00 | 捐助大凉山贫困山区孩子们 |
| 5月20日收到 | 李柯 | 爱心助学 | ¥1,100.00 | 资助阿古妹妹 |
| 5月20日收到 | 张延召 | 爱心助学 | ¥1,100.00 | 资助阿古牛布 |
| 5月20日收到 | 刘正东 | 爱心助学 | ¥9,900.00 | 暑假资助两个初中两个高中生第二年费用 |
| 5月20日收到 | 沈红平 | 爱心捐款 | ¥1,000.00 | 阳光学习 |
| 【通知】为规范四川省索玛慈善基金会财务,从即日起,我们将给每一位捐赠人(包括以前给我们捐赠的朋友们)据实开具捐赠票据,微信号:suomahua123,手机:18981556717,座机:0834-2507977,发送捐款截图、捐赠人(单位)姓名、收件地址、电话、邮编信息,以便我们给您邮寄捐赠票据,感谢各位爱心人士的捐助! | ||||
| 四川省索玛慈善基金会 2020年5月20日 | ||||











