2021年11月13日接收捐赠的信息
发布时间 2021-11-15 丨 来源:四川省索玛慈善基金会 丨 浏览量 115
| 11月13日收到 | 财付通支付科技有限公司 | 暂未开票 | ¥89.42 | 索玛花阳光午餐 |
| 11月13日收到 | 财付通支付科技有限公司 | 暂未开票 | ¥30.00 | 大山春天计划 |
| 11月13日收到 | 财付通支付科技有限公司 | 暂未开票 | ¥1,966.00 | 索玛花支教 |
| 11月13日收到 | 财付通支付科技有限公司 | 暂未开票 | ¥13.00 | 请帮助我读完高中 |
| 11月13日收到 | 财付通支付科技有限公司 | 暂未开票 | ¥19.00 | 索玛花爱心结对 |
| 11月13日收到 | 财付通支付科技有限公司 | 暂未开票 | ¥0.10 | 索玛花净水助学 |
| 11月13日收到 | 财付通支付科技有限公司 | 暂未开票 | ¥0.05 | 索玛花小学 |
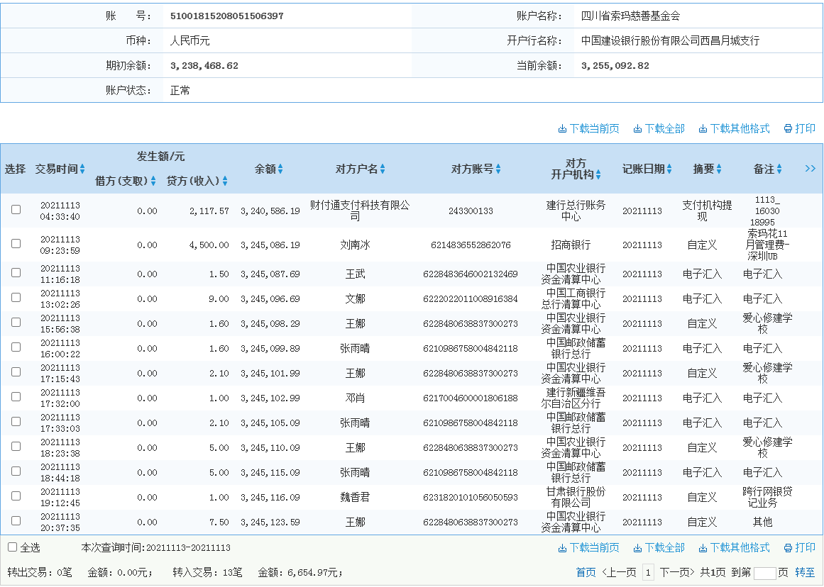
| 11月13日收到 | 刘南冰 | 行政费用 | ¥4,500.00 | 索玛花11月管理费-深圳UB |
| 11月13日收到 | 王武 | 爱心捐款 | ¥1.50 | 暂未开票 |
| 11月13日收到 | 文娜 | 爱心捐款 | ¥9.00 | 暂未开票 |
| 11月13日收到 | 王娜 | 爱心捐款 | ¥1.60 | 暂未开票 |
| 11月13日收到 | 张雨晴 | 爱心捐款 | ¥1.60 | 暂未开票 |
| 11月13日收到 | 王娜 | 爱心捐款 | ¥2.10 | 暂未开票 |
| 11月13日收到 | 邓肖 | 爱心捐款 | ¥1.00 | 暂未开票 |
| 11月13日收到 | 张雨晴 | 爱心捐款 | ¥2.10 | 暂未开票 |
| 11月13日收到 | 王娜 | 爱心捐款 | ¥5.00 | 暂未开票 |
| 11月13日收到 | 张雨晴 | 爱心捐款 | ¥5.00 | 暂未开票 |
| 11月13日收到 | 魏香君 | 爱心捐款 | ¥1.00 | 暂未开票 |
| 11月13日收到 | 王娜 | 爱心捐款 | ¥7.50 | 暂未开票 |
| 11月13日收到 | 秦丹丹 | 爱心助学 | ¥2,200.00 | 资助洪溪中学的衣作 |
| 【通知】为规范四川省索玛慈善基金会财务,从即日起,我们将给每一位捐赠人(包括以前给我们捐赠的朋友们)据实开具捐赠票据,微信号:suomahua123,手机:18981556717,座机:0834-2507977,发送捐款截图、捐赠人(单位)姓名、收件地址、电话、邮编信息,以便我们给您邮寄捐赠票据,感谢各位爱心人士的救助! | ||||
| 四川省索玛慈善基金会 2021年11月13日 | ||||




